Kawasaki Files Patent For A Three Wheeler: कावासाकी ने थ्री-व्हीलर वाहन के लिए फाइल किया पेटेंट
जापानी बाइक निर्माता कावासाकी ने एक नई थ्री व्हीलर के लिए पेटेंट फाइल किया है। पेटेंट में जो तस्वीरें सामने आई हैं उससे पता चलता है कि इसमें ड्राइवर के बगल में ही पिलियन राइडर के बैठने की सीट दी गई है न की पीछे। थ्री व्हीलर बाइक की बात करें तो हमारे सामने यामाहा की निकेन की तस्वीर सामने आती है जोकि एक लीनिंग थ्री व्हीलर मोटरसाइकिल है, लेकिन कावासाकी की यह थ्री व्हीलर उससे काफी अलग है।

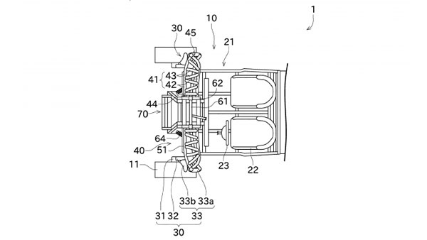
यह थ्री व्हीलर बाइक कम और एक कार ज्यादा लग रही है। तस्वीरों में पता चलता है कि इसमें दो पहिये आगे और एक पहिया पीछे दिया गया है जोकि पोलरिस स्लिंगशॉट और कैनएम स्पीडर जैसे वाहनों से काफी मिलता जुलता है।

सामान्य थ्री व्हीलर बाइकों के जैसे कावासाकी के इस थ्री व्हीलर के आगे के पहिये नहीं झुकते हैं, बल्कि इसकी चैसी वाहन के घूमने पर संतुलन के लिए दाएं और बाएं झुकती है। आगे के दो पहियों को स्टीयरिंग व्हील से जोड़ा गया है जिसमे दो स्प्रिंग सस्पेंशन भी लगाया गया है।

इसके इंजन के बारे में कोई जानकारी सामने नहीं आई है। इस थ्री व्हीलर में पेट्रोल, इलेक्ट्रिक या हाइब्रिड इंजन का भी इस्तेमाल किया जा सकता है। तस्वीरों में यह भी सामने आया है कि वाहन में इंजन पीछे के तरफ लगाया गया है।

हालांकि, या पेटेंट की प्रारंभिक तस्वीरें हैं, इसलिए आने वाले समय में इसके डिजाइन मैं भी बदलाव किया जा सकता है। कावासाकी इस पेटेंट को निर्माण का रूप देगी या नहीं यह कहना भी अभी निश्चित नहीं है।

भारत में कावासाकी निंजा 650 के बीएस6 मॉडलों को डीलरशिप पर पहुंचाया जा रहा है। इस बाइक को 6.24 लाख रुपये की एक्स-शोरूम कीमत पर लॉन्च किया जाएगा। कावासाकी निंजा 650 बीएस6 की कीमत बीएस4 मॉडल के मुकाबले 35,000 रुपये अधिक है।

कंपनी ने इसकी बुकिंग पहले ही शुरू कर दी थी, इसे 49,000 रुपये में कंपनी के डीलरशिप या ऑनलाइन बुक किया जा सकता है। कावासाकी निंजा 650 को एक नए अवतार में लाया गया है, यह अब पहले से अधिक आकर्षक व शानदार लग रही है, इसमें लाइम ग्रीन व पर्ल वाइट रंग का विकल्प दिया गया है। इसकी डिलीवरी अब जल्द ही शुरू की जा सकती है।
नोट: तस्वीरों का उपयोग सांकेतिक रुप से किया गया है।


Click it and Unblock the Notifications








